Page 25 - SOP Pelayanan Perpustakaan
P. 25
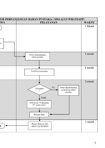
PROSEDUR PERPANJANGAN BAHAN PUSTAKA ( MELALUI WHATSAPP)
NO. AKTIFITAS
MAHASISWA PELAYANAN WAKTU
1 Pemustaka mengajukan perpanjang pinjaman MULAI 1 Menit
melalui aplikasi WhatsApp yang ditujukan ke
perpustakaan sesuai dengan format penulisan yg
telah di tentukan.
Pengajuan
Perpanjangan Melalui
WhatsApp
2 Petugas mengecek permintaan perpanjang pinjaman Proses perpanjangan 1 menit
bahan pustaka
bahan pustaka pada aplikasi WhatsApp
3 Petugas melakukan verifikasi terhadap pemustaka 1 menit
Verifikasi pemustaka
4 Petugas melakukan aktivitas perpanjang pinjaman 2 menit
bahan pustaka melalui WhatApp apabila pemustaka
sesuai dengan ketentuan/aturan perpustakaan Terlambat Ya Tidak diperkenankan
? perpanjang bahan
pustaka
Tidak
Pilih menu “Perpanjang
F7” pada sistem
Rekam data
5 Pemustaka mendapatkan respon balasan dari 1 menit
Respon Balasan dari
petugas pelayanan perihal perpanjang pinjaman SELESAI admin (Tgl Kembali)
bahan pustaka
3

